妖精视频无码A免费视频观看视频,妖精视频无码视频网址,黄色软件APP妖精视频下载,亚洲无码黄妖精视频在线观看

        专注军用、民用测控领域的高科技公司
        为兵器、航空、航天、民用等行业提供测控校准解决方案

        您所在的位置:首页 > 产品中心 > 火工品黄色软件APP妖精视频下载产品 > HGY-1A型火焰感度仪

        产品中心

        HGY-1A型火焰感度仪




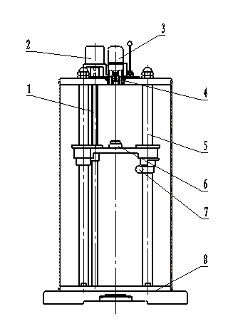
        l  1 丝杠 2 步进电机 3 点火装置4 药柱模  5-立柱 6 试样模 7 锁紧旋钮  8底座 

        l  起爆药、击发药、点火药、烟火药、烟花爆竹药剂等药剂的定量试样,受一定的火焰作用,观察其是否发火,计算其50%发火高度,即为火焰感度值。

        l  药柱模中心线对托盘试样座中心线的不同轴度不大于R0.5mm;

        l  两立柱对底座上平面的不垂直度在630毫米内不大于0.25mm;

        l  底座上平面与顶盖上平面的不平行度不大于0.15mm,其不平行度由平行度调整垫调  整;

        l  可以采用多种点火源:黑药柱,导火索;

        l  最大试验高度不小于550mm;

        l  仪器重约70Kg,外型尺寸:约450×350×792mm;

        l  操作采用自动控制,全触摸操作,操作安全方便;

         


        版权所有:南京妖精视频无码A免费视频观看视频测控技术有限公司 电话:86-025-84308108
        地址:南京市光华路 129-3 号南京理工大学国家科技园 A2 幢 532 室
        苏ICP备39640117号 苏公网安备32010402000796号
        技术支持:南京博搜网络科技有限公司南京网站建设
        在线客服

        微信公众号

        网站地图